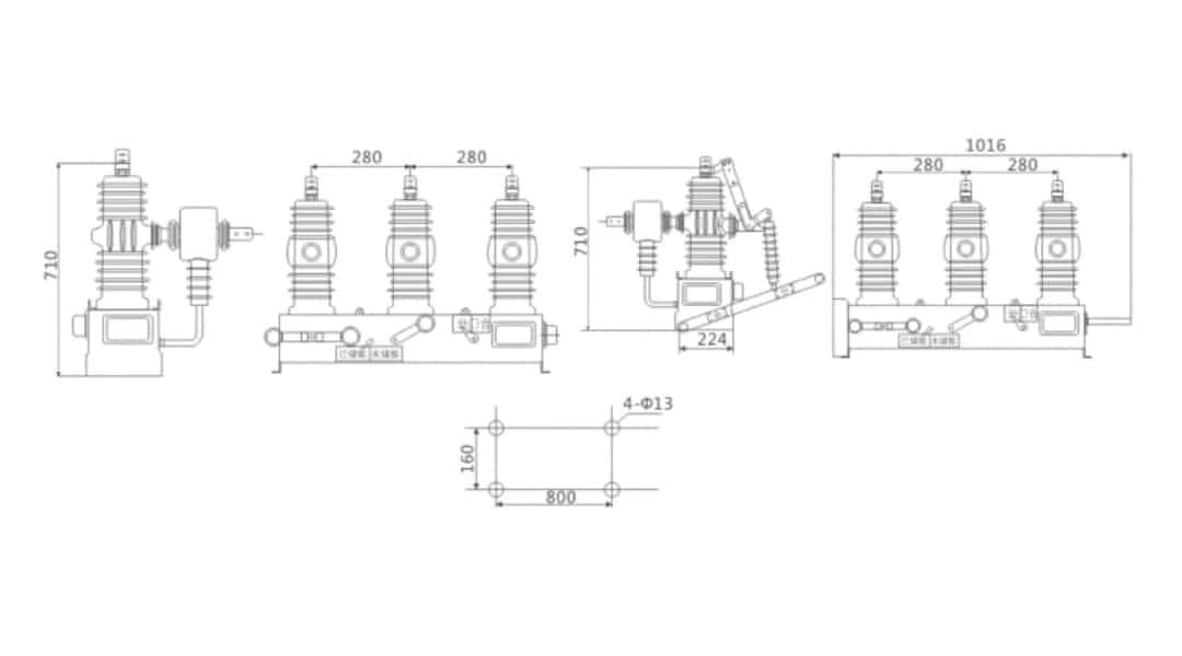
ZW43-12 Zewnętrzny wysokonapięciowy wyłącznik próżniowy 12kV - Miniaturowy, kompaktowy wyłącznik próżniowy VCB dla miejskich i wiejskich obciążeń dystrybucyjnych

Opis:

Zewnętrzny wyłącznik próżniowy wysokiego napięcia ZW43-12: 12kV zminiaturyzowany kompaktowy VCB, zminiaturyzowany produkt ZW32, wyłączanie obciążenia / przeciążenia / prądu zwarciowego, miejska / wiejska dystrybucja energii, trójfazowy AC 50Hz, zewnętrzna rozdzielnica wysokiego napięcia.

Zastosowania:

Zaawansowana seria miniaturowych wyłączników próżniowych ZW43-12: Zewnętrzny wysokonapięciowy wyłącznik próżniowy o napięciu znamionowym 12 kV trójfazowego prądu przemiennego 50 Hz, zminiaturyzowany produkt wyłącznika ZW32 zapewniający kompaktową konstrukcję o zmniejszonych rozmiarach przy zachowaniu doskonałej wydajności, zewnętrzna rozdzielnica wysokiego napięcia odpowiednia do wyłączania i zamykania prądu obciążenia, prądu przeciążeniowego i prądu zwarciowego w miejskich lub wiejskich systemach dystrybucji energii, kompaktowa zminiaturyzowana konstrukcja umożliwiająca oszczędność miejsca w ograniczonych przestrzeniach, lekka konstrukcja ułatwiająca transport i przenoszenie, idealna do miejskich sieci dystrybucji energii wymagających kompaktowych rozwiązań rozdzielczych i wiejskich systemów dystrybucji energii z ograniczeniami przestrzennymi.

Zminiaturyzowana, kompaktowa konstrukcja: ZW43-12 posiada zminiaturyzowaną, kompaktową konstrukcję opartą na sprawdzonej technologii wyłączników ZW32, zapewniającą mniejszą powierzchnię i wagę przy zachowaniu niezawodnej wydajności wyłączania, odpowiednią do wyłączania prądu obciążenia podczas normalnej pracy, prądu przeciążeniowego w nienormalnych warunkach i prądu zwarciowego w warunkach awarii, trójfazowa zewnętrzna rozdzielnica wysokiego napięcia AC 50Hz o napięciu znamionowym 12 kV zapewniająca kompleksową ochronę miejskich lub wiejskich systemów dystrybucji energii, kompaktowe rozmiary umożliwiające instalację w miejscach o ograniczonej przestrzeni, w tym w podstacjach miejskich, wiejskich punktach dystrybucji i zastosowaniach montowanych na słupach, zapewniające niezawodne zminiaturyzowane rozwiązanie do wyłączania obwodów próżniowych dla miejskich i wiejskich sieci dystrybucji energii 12 kV wymagających kompaktowej rozdzielnicy o wysokiej wydajności.

Specyfikacje

ZW43-12 Zewnętrzny wysokonapięciowy wyłącznik próżniowy 12kV - Miniaturowy, kompaktowy wyłącznik próżniowy VCB dla miejskich i wiejskich obciążeń dystrybucyjnych

Cechy

Zewnętrzny wyłącznik próżniowy wysokiego napięcia ZW43-12 Specyfikacje Parametr Jednostka
Marka Systemy izolacyjne Bepto -
Numer modelu ZW43-12 -
Typ produktu Zewnętrzny wyłącznik próżniowy wysokiego napięcia (miniaturowy kompaktowy wyłącznik próżniowy 12 kV) - zminiaturyzowany produkt wyłącznika ZW32 do miejskich/wiejskich systemów dystrybucji energii -
Technologia podstawowa Zminiaturyzowana konstrukcja oparta na wyłączniku ZW32 + kompaktowa konstrukcja o zmniejszonych rozmiarach + próżniowe wyłączanie obwodu + wyłączanie/zamykanie prądu obciążenia + wyłączanie/zamykanie prądu przeciążeniowego + wyłączanie/zamykanie prądu zwarciowego + instalacja oszczędzająca miejsce + lekka konstrukcja + łatwy transport i obsługa + miejskie sieci dystrybucji energii + wiejskie systemy dystrybucji energii + lokalizacje o ograniczonej przestrzeni + aplikacje montowane na słupach -
Napięcie znamionowe 12 kV
Częstotliwość znamionowa 50 Hz
Fazy Trójfazowy -
Typ instalacji Na zewnątrz -
Bieżący typ AC (prąd zmienny) -
Zminiaturyzowany produkt Tak (zminiaturyzowany produkt wyłącznika ZW32) -
Kompaktowa konstrukcja Tak (kompaktowa konstrukcja ze zmniejszonym rozmiarem) -
Zmniejszony ślad Tak (zmniejszona powierzchnia i waga) -
Przerwanie obwodu próżniowego Tak (technologia próżniowego przerywania obwodu) -
Niezawodna wydajność zrywania Tak (Utrzymanie niezawodnej wydajności zrywania) -
Prąd obciążenia Przerwanie/zamknięcie Tak (odpowiedni dla prądu obciążenia wyłączającego i zamykającego) -
Prąd przeciążeniowy Przerwanie/zamknięcie Tak (odpowiedni dla prądu przeciążeniowego wyłączającego i zamykającego) -
Prąd zwarciowy wyłączający/zamykający Tak (odpowiedni do przerywania i zamykania prądu zwarciowego) -
Normalne działanie Tak (Prąd rozrywający przy normalnej pracy) -
Nieprawidłowe warunki Tak (przerywanie prądu przeciążeniowego w nietypowych warunkach) -
Warunki awarii Tak (przerywanie prądu zwarciowego w warunkach awarii) -
Miejskie systemy dystrybucji energii Tak (odpowiedni dla miejskich systemów dystrybucji energii) -
Wiejskie systemy dystrybucji energii Tak (odpowiedni dla wiejskich systemów dystrybucji energii) -
Zewnętrzna rozdzielnica wysokiego napięcia Tak (trójfazowy prąd przemienny 50 Hz, zewnętrzna rozdzielnica wysokiego napięcia) -
Kompleksowa ochrona Tak (kompleksowa ochrona miejskich lub wiejskich systemów dystrybucji energii) -
Instalacja oszczędzająca miejsce Tak (kompaktowy rozmiar umożliwiający instalację oszczędzającą miejsce) -
Lokalizacje o ograniczonej przestrzeni Tak (instalacja w miejscach o ograniczonej przestrzeni) -
Podstacje miejskie Tak (odpowiedni dla podstacji miejskich) -
Wiejskie punkty dystrybucji Tak (odpowiedni dla wiejskich punktów dystrybucji) -
Aplikacje montowane na słupie Tak (nadaje się do montażu na słupie) -
Lekka konstrukcja Tak (lekka konstrukcja ułatwiająca transport i obsługę) -
Łatwy transport Tak (łatwy transport) -
Łatwa obsługa Tak (łatwa obsługa) -
Sprawdzona technologia ZW32 Tak (w oparciu o sprawdzoną technologię wyłączników ZW32) -
Doskonała wydajność Tak (zmniejszony rozmiar przy zachowaniu doskonałej wydajności) -
Rozwiązania dla rozdzielnic kompaktowych Tak (idealny do miejskich sieci dystrybucji energii wymagających kompaktowych rozwiązań rozdzielczych) -
Ograniczenia przestrzenne Tak (wiejskie systemy dystrybucji energii z ograniczeniami przestrzennymi) -
Główne zalety Zminiaturyzowany produkt ZW32, kompaktowa konstrukcja, mniejsza powierzchnia zabudowy, instalacja oszczędzająca miejsce, lekka konstrukcja, wyłączanie obciążenia/przeciążenia/prądu zwarciowego, dystrybucja miejska/wiejska, zastosowania słupowe, łatwy transport, sprawdzona technologia, doskonała wydajność -
Aplikacje podstawowe Trójfazowa dystrybucja energii 12kV AC 50Hz, miejskie sieci dystrybucji energii, wiejskie systemy dystrybucji energii, wyłączanie/zamykanie prądu obciążenia/przeciążenia/zwarcia, lokalizacje o ograniczonej przestrzeni, podstacje miejskie, wiejskie punkty dystrybucji, aplikacje montowane na słupach, zewnętrzna rozdzielnica wysokiego napięcia -

Niech świat dowie się o Bepto

Bepto jest wiodącą chińską firmą zajmującą się izolacją elektryczną, skoncentrowaną na opracowywaniu zaawansowanych rozwiązań dla przyszłych systemów energetycznych. Wspieramy bezpieczeństwo i rozwój przesyłu i dystrybucji, z długoterminowymi partnerami, w tym State Grid, ABB, Schneider, Siemens i GE. Nasze usługi docierają do klientów w ponad 22 krajach.

Zastosowanie

WSZYSTKO, CZEGO NIE MOGŁEŚ ZNALEŹĆ?
Porozmawiaj z naszym działem sprzedaży

Bepto koncentruje się na rynku globalnym i dostarcza naszym klientom produkty odpowiednie dla rynku lokalnego:

WYŚLIJ NAM E-MAIL
Kontakt

Niezachwianie w naszym oddaniu klientom i dostarczaniu najnowocześniejszych innowacji, Bepto jest Twoim niezłomnym sprzymierzeńcem w nadchodzącej podróży.

Formularz kontaktowy 2
🔒 Twoje dane są bezpieczne i zaszyfrowane.
Czerwone logo Bepto
Uzyskaj więcej korzyści od momentu przesłania formularza informacyjnego
Formularz kontaktowy
Twoje informacje są bezpieczne i zaszyfrowane.